西藏关于2021年度监理工程师职业资格考试报名工作的通知,监理工程师报名时间:3月19日—3月28日,具体内容如下。
关于2021年度监理工程师职业资格考试西藏考区报名工作的通知
根据人社部人事考试中心《关于2021年度监理工程师职业资格考试考务工作的通知》(人考中心函〔2021〕5号)安排,现就做好我区2021年度监理工程师职业资格考试报名工作有关事项通知如下:
一、考试时间及科目
5月15日
上午09:00-11:00建设工程合同管理
下午14:00-17:00建设工程目标控制(3个专业)
5月16日
上午09:00-11:00建设工程监理基本理论和相关法规
下午14:00-18:00建设工程监理案例分析(3个专业)
本次考试考点统一设在拉萨市。
二、报考条件
凡符合住房和城乡建设部、交通运输部、水利部和人力资源和社会保障部《关于印发〈监理工程师职业资格制度暂行规定〉〈监理工程师职业资格考试实施办法〉的通知》(建人规〔2020〕3号)(链接http://www.mohurd.gov.cn/wjfb/202003/t20200324_244581.html)的条件的人员,均可报考。考试实行属地化管理,报考人员应在工作地、居住地在西藏区域内,方可在西藏考区报名参加考试。
三、告知承诺制有关事项说明
监理工程师职业资格考试将实行报名证明事项告知承诺制,报考人员在网上报名系统填报相关信息后,可自主选择是否采用告知承诺制方式办理相关事项。在资格考试报名中存在虚假承诺行为的人员,以及按照《专业技术人员资格考试违纪违规行为处理规定》(人社部令第31号),存在严重违纪违规行为或特别严重违纪违规行为、被记入资格考试诚信档案库且在记录期内的人员不适用告知承诺制。
(一)选择告知承诺制且线上核查通过人员的办理方式
1.选择采用告知承诺制方式报名参加考试的人员,应在报名前仔细了解相关资格考试的报考条件、符合报考条件所需的证明义务和证明内容、报考人员承诺的内容、不实承诺可能承担的责任、考试组织机构的核查权力和报考人员的配合义务等,报考人员在网上报名系统填报信息,采用电子方式签署告知承诺书(电子文本),一经提交即具有法律效力,不允许代为承诺。考前无须提供有关证明,依据告知承诺制办理报名相关事项。
2. 报考人员承诺的内容包括:
(1)已知晓告知事项;
(2)已符合报考条件;
(3)填报的信息真实、客观;
(4)愿意接受考试组织机构的核查,愿意承担不实承诺的法律责任并接受处理。
3.报考人员作出承诺后,可在未缴费且报名截止前通过网上报名系统撤回承诺。撤回承诺后,报考人员须进行现场人工核查,提交相关证明材料。报考人员撤回承诺的,本年度该项考试中不再适用告知承诺制。
(二)现场人工核查适用人员的办理方式
未选择告知承诺制或者不适用告知承诺制的报考人员,应在报名前仔细了解相关资格考试的报考条件、符合报考条件所需的证明义务和证明内容、考试组织机构的核查权力和报考人员的配合义务等,由本人在网上报名系统填报信息后,按报名地考试组织机构有关规定办理相关事项,提交相关证明材料。
报考期间将对所有报考人员实施全程社会监督和加强全面管理。若一经发现报考人员所填信息与本人真实信息不符,伪造、变造有关证件、材料、信息,骗取考试资格的,或者未按照资格审核部门要求办理报考相关事项的,将按照相关规定予以严肃处理。
(三)不实承诺的处理
考试前,考试组织机构在核查中发现报考人员不符合报考条件的,给予其考试报名无效的处理,已缴费用不予退还。
考试后,考试组织机构在核查或者日常监管中发现报考人员不符合报考条件的,取得考试成绩的,当次全部科目考试成绩无效;取得资格证书或者成绩证明的,资格证书或者成绩证明无效。
报考人员有提供虚假证明材料或者以其他不正当手段取得相应资格证书或者成绩证明等严重违纪违规行为的,按照《专业技术人员资格考试违纪违规行为处理规定》(人社部令第31号)第十条、第十二条处理。
报考人员涉嫌犯罪的(包括但不限于伪造、变造、买卖国家机关公文、证件、印章,伪造公司、企业、事业单位、人民团体印章等),依法移送司法机关。
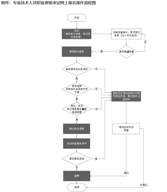
四、报名流程
(一)报名时间
网上报名时间:3月19日—3月28日。
报名网站:中国人事考试网(http://www.cpta.com.cn),建议使用360安全浏览器极速模式进行报名。
(二)报名程序
1.网上注册
请报考人员尽早注册或完善注册信息,认真阅读报考须知和报考条件说明。首次登录全国专业技术人员资格考试报名服务平台的报考人员须先进行网上注册,填报个人身份信息、上传经照片审核工具处理的本人半年内白底证件照片。(未经审核工具处理的照片,系统无法识别,将影响后续报名操作)。考试合格后,报考人员网上注册报名时所上传的照片,将直接用于制作资格证书,一经确认不得修改。
实行告知承诺制后,首次报考人员应在报名前完成用户注册,已注册的报考人员无需重新注册,但须补充完善相关注册信息。网上报名系统将对身份信息、学历学位等注册信息进行在线核验,提交注册信息24小时后,系统显示出核验结果即表明在线核验已完成,报考人员须继续进行网上报名。
2.网上报名
注册成功后,考生登录服务平台,点击左侧“进入网上报名”栏目,选择相应级别考试,下一步报考省份选择“西藏”,进入报考信息填写页面,请考生按照要求进行填写。
成功填写报考信息后,请再次认真检查,确认无误后点击“报名信息确认”(报名信息确认后,考生将无法修改报名信息,请谨慎确认信息)。
(三)资格核查
1.选择告知承诺制方式办理
注册时,身份信息和学历(学位)信息在线核查结果为“核查通过”且选择并适用告知承诺制办理的报考人员,无需进行现场人工核查,系统将自动核查其报名资格,通过后直接缴费完成网上报名工作,届时打印准考证参加考试即可。
2.现场人工核查方式办理
未通过系统资格核查或者不选择/不适用告知承诺制办理的报考人员,须进行现场人工核查。
现场人工核查适用人员范围:
A.不适用告知承诺制办理相关事项的;
B.未选择告知承诺制方式办理相关事项的;
C.撤回承诺申请的;
D.身份信息、学历学位、所学专业等无法在线核查或在线核查未通过的。
现场人工核查须提供以下材料:
A.身份证复印件一份;
B.国务院教育行政部门认可的国民教育系列学历、学位证书复印件1份,同时提供中国高等教育学生信息网(www.chsi.com.cn)出具的《教育部学历证书电子注册备案表》1份或《高等教育学历认证报告》一份,提供专科、本科、研究生学历中符合报名条件的任何一个学历(学位)即可;
C.从业工作经历凭证;
D.免考基础科目或增加专业类别的报考人员,还须提供相应的证明材料。
现场人工核查时间:3月20日—3月29日(9:30-13:00 15:30-18:00)正常工作日进行。
现场人工核查地址:西藏自治区人事考试中心(拉萨市八一北路,西藏人力资源市场综合服务楼4楼406办公室,0891-6845920.6327335)。
(四)网上缴费
请通过线上资格核查或现场人工核查的报考人员,及时登录网报平台完成网上缴费工作。未在规定时限内完成缴费的报考人员,视为放弃考试资格。
网上缴费时间:3月20日—3月29日。
(五)收费标准
根据《关于调整及新增全区各类专业技术资格考试收费标准的通知》(藏发改价格〔2020〕298号),监理工程师职业资格考试收费标准为85元/科。
(六)准考证打印
请已缴费的考生,于5月11日—5月14日登录中国人事考试网下载打印准考证。
五、注意事项
(一)请考生根据拉萨市疫情防控常态化要求,做好疫情防控工作。未按要求进行操作造成无法正常参加考试的,后果由考生自负。
(二)监理工程师职业资格考试成绩实行4年为一个周期的滚动管理办法,在连续的4个考试年度内通过全部考试科目,方可取得监理工程师职业资格证书。参加原监理工程师执业资格考试并在有效期内的合格成绩有效期顺延,按照4年为一个周期管理。《建设工程监理基本理论和相关法规》《建设工程合同管理》《建设工程质量、投资、进度控制》《建设工程监理案例分析》科目合格成绩分别对应《建设工程监理基本理论和相关法规》《建设工程合同管理》《建设工程目标控制》《建设工程监理案例分析》科目。
(三)考生应考时,携带的文具仅限于黑色墨水笔、2B铅笔、橡皮、直尺和无声无文本编辑功能的计算器。
(四)根据《专业技术人员资格考试违纪违规行为处理规定》(人力资源和社会保障部令第31号),为杜绝考场抄袭等作弊行为,阅卷时将对所有考生答案等进行比对分析监测,无论抄袭、被抄袭或试卷答案雷同,均取消考试成绩。
(五)关于考后资格复核有关社保材料要求。社保缴纳年限大于或等于报名条件要求的从业工作年限,考后资格复核时,提供社保参保年限证明;社保缴纳年限小于报名条件要求的从业工作年限,考后资格复核时,除提供社保参保年限证明外,还需提供其他可以证明从业工作年限的材料。
(六)考试大纲使用由住房和城乡建设部、交通运输部、水利部组织编写、人力资源和社会保障部审定的2020年版《全国监理工程师职业资格考试大纲》,可在相关网站免费下载。
中国建设监理协会网站(http://www.caec–china.org.cn/)、交通运输部职业资格中心网站(http://www.jtzyzg.org.cn/)及中国水利工程协会网站(http://www.cweun.org)。
考试咨询电话:0891-6845920/6327335
附件:网上报名操作流程图
西藏自治区人事考试中心
2021年3月19日
- · 天津市2026年度监理工程师职业资格考试报名等有关事项的通知
- · 辽宁考区2026年度监理工程师职业资格考试考务工作的通知
- · 贵州省2026年度监理工程师职业资格考试报名通知
- · 陕西省2026年度监理工程师职业资格考试考务工作的通知
- · 监理工程师职业资格考试(水利工程)专业对照表(2022年版)
- · 2026年监理工程师(水利工程专业)科目考试大纲沿用2023年版!
- · 湖南省2026年度监理工程师职业资格考试报考通知
- · 2026年辽宁大连考点监理工程师职业资格考试报名的通知
- · 河北省2026年度监理工程师职业资格考试报考通知
- · 河南考区2026年度监理工程师职业资格考试报考通知






![[em2_01]](https://live.cdeledu.com/web/images/emoji/01.png)
![[em2_02]](https://live.cdeledu.com/web/images/emoji/02.png)
![[em2_03]](https://live.cdeledu.com/web/images/emoji/03.png)
![[em2_04]](https://live.cdeledu.com/web/images/emoji/04.png)
![[em2_05]](https://live.cdeledu.com/web/images/emoji/05.png)
![[em2_06]](https://live.cdeledu.com/web/images/emoji/06.png)
![[em2_07]](https://live.cdeledu.com/web/images/emoji/07.png)
![[em2_08]](https://live.cdeledu.com/web/images/emoji/08.png)
![[em2_09]](https://live.cdeledu.com/web/images/emoji/09.png)
![[em2_10]](https://live.cdeledu.com/web/images/emoji/10.png)
![[em2_11]](https://live.cdeledu.com/web/images/emoji/11.png)
![[em2_12]](https://live.cdeledu.com/web/images/emoji/12.png)
![[em2_13]](https://live.cdeledu.com/web/images/emoji/13.png)
![[em2_14]](https://live.cdeledu.com/web/images/emoji/14.png)
![[em2_15]](https://live.cdeledu.com/web/images/emoji/15.png)
![[em2_16]](https://live.cdeledu.com/web/images/emoji/16.png)
![[em2_17]](https://live.cdeledu.com/web/images/emoji/17.png)
![[em2_18]](https://live.cdeledu.com/web/images/emoji/18.png)
![[em2_19]](https://live.cdeledu.com/web/images/emoji/19.png)
![[em2_20]](https://live.cdeledu.com/web/images/emoji/20.png)






扫一扫立即下载
扫码添加老师