广西考区2026年度监理工程师职业资格考试报考通知已发布,网上填报时间:3月16日8:00至3月26日17:00;网上缴费时间:3月16日8:00至3月30日17:00;准考证打印时间:5月11日8:00至5月17日17:00;考试时间:5越16日、17日。通知详情如下:
关于做好2026年度监理工程师职业资格考试广西考区考务工作的通知
根据《人力资源和社会保障部人事考试中心关于2026年度监理工程师职业资格考试考务工作的通知》(人考中心函〔2026〕3号)精神,为做好2026年度监理工程师职业资格考试广西考区考务工作,现将有关事项通知如下:
一、考试时间、科目及考场设置
注:《建设工程合同管理》、《建设工程监理基本理论和相关法规》为基础科目;《建设工程目标控制》、《建设工程监理案例分析》为专业科目。专业类别分为土木建筑工程、交通运输工程和水利工程。
二、考试级别、应试科目及成绩管理
三、报考条件
根据《住房和城乡建设部交通运输部水利部人力资源社会保障部关于印发〈监理工程师职业资格制度规定〉〈监理工程师职业资格考试实施办法〉的通知》(建人规〔2020〕3号)和《人力资源社会保障部关于降低或取消部分准入类职业资格考试工作年限要求有关事项的通知》(人社部发〔2022〕8号)相关规定,凡遵守中华人民共和国宪法、法律、法规,具有良好的业务素质和道德品行,并符合报考条件的人员(包括中国【广西】自由贸易试验区内符合报考条件的境外个人),均可申请参加监理工程师职业资格考试。具体如下:
(一)监理工程师职业资格考试报考条件(报考级别为“考全科”)。
1.具有各工程大类专业大学专科学历(或高等职业教育),从事工程施工、监理、设计等业务工作满4年。
2.具有工学、管理科学与工程类专业大学本科学历或学位,从事工程施工、监理、设计等业务工作满3年。
3.具有工学、管理科学与工程一级学科硕士学位或专业学位,从事工程施工、监理、设计等业务工作满2年。
4.具有工学、管理科学与工程一级学科博士学位。
(二)免考部分科目报考条件(报考级别为“免二科”)。
具备以下条件之一的,参加监理工程师职业资格考试可免考基础科目。
1.已取得公路水运工程监理工程师资格证书;
2.已取得水利工程建设监理工程师资格证书。
申请免考部分科目的人员在报名时应提供相应材料。
(三)增报专业报考条件(报考级别为“增报专业”)。
已取得监理工程师一种专业职业资格证书的人员,报名参加其它专业科目考试的,可免考基础科目。考试合格后,核发人力资源社会保障部门统一印制的相应专业考试合格证明。
(四)报考条件相关问题的说明。
1.关于“学历、学位”,是指属于国民教育系列或者国务院教育行政部门批准或认可的学历、学位,应有国家认可的文凭颁发权利的学校及其他教育机构所颁发的学历、学位证书为凭证,只取得肄业证书、结业证书不能报考。
大专及以上的学历和学位包括普通高等教育、成人高等教育、电大开放教育、网络远程教育、高等教育自学考试所颁发的学历或学位证书。
香港、澳门、台湾地区或者国外高等学校学历、学位须经教育部留学服务中心认证。
2.关于“从事工程施工、监理、设计等业务工作年限”,是指报考人员全职从事工程施工、监理、设计等业务工作时间的总和。工作年限计算截止日期为考试当年度的12月31日。
报考人员从事的非工程施工、监理、设计等业务工作时间不计算为专业工作年限。未取得毕业证书前的实习经历不计入专业工作年限。
取得第一学历并参加工作,再以函授、自学考试、远程教育等取得的各工程大类专业大学专科和工学、管理科学与工程类专业大学本科及以上学历或学位报考,可累计取得第一学历至报考年度期间的实际工程施工、监理、设计等业务工作年限。超过半年的脱产学习时间不计算为专业工作年限,脱产学习前后的实际专业工作年限可累计。
(五)学历核验。
如报考人员提交的境内高等教育学历学位信息无法通过在线核查(注册时系统自动核查),需登录中国高等教育学生信息网(学信网)进行验证/认证,下载相关PDF格式在线验证/认证报告,报名期间按系统提示上传相关验证/认证报告,接受人工核查,具体操作方式参见中国人事考试网考生问答栏目内容(www.cpta.com.cn/question/1525.html)。
由于办理学历学位验证/认证需要一定时间,报考人员应提前安排好验证/认证事宜,以免影响报名。
四、考试报名告知承诺
本次考试报名证明事项实行告知承诺制,具体内容如下:
(一)告知承诺制适用范围。
除“不适用告知承诺制”的人员外,其他所有报考人员均可选择“采用告知承诺制”或“不采用告知承诺制”方式报考。
“不适用告知承诺制”的人员是指在资格考试报名中存在虚假承诺行为的人员,以及被记入资格考试诚信档案库且在记录期内的人员。
报考人员选择“采用告知承诺制”方式报考,作出承诺后撤回承诺的,本年度该项考试中不再适用告知承诺制。
(二)告知承诺制要求。
报考人员选择“采用告知承诺制”方式报考,须承诺本人已经知晓报考所需的证明义务和证明内容,已经符合告知的报考条件,报考时所填报的信息真实、准确、完整、有效,愿意接受考试组织机构的核查,愿意承担不实承诺的法律责任并接受处理;须本人签署《专业技术人员职业资格考试报名证明事项告知承诺书》(电子文本,以下简称《告知承诺书》),一经提交即具有法律效力,不允许代为承诺。
“不采用告知承诺制”、“撤回承诺”、“不适用告知承诺制”的报考人员,身份信息、学历学位、所学专业等无法在线核查或在线核查未通过的报考人员,以及报考免试科目的报考人员属于重点核查与监管对象,须按系统提示上传相关证件、证明材料,经考试组织机构核查。
(三)核查与监管。
考试组织机构依法依规对报考人员进行核查与监管,在考前、考中和考后全程运用多种方式对报考人员承诺内容开展核查,采用随机抽查、重点监管等方式实施日常监管。
(四)不实承诺的处理。
1.考试前,考试组织机构在核查中发现报考人员不符合报考条件的,给予其考试报名无效的处理,已缴费用不予退还。
2.考试后,考试组织机构在核查或者日常监管中发现报考人员不符合报考条件的,取得考试成绩的,当次全部科目考试成绩无效;取得资格证书或者成绩证明的,资格证书或者成绩证明无效。
3.报考人员有提供虚假证明材料或者以其他不正当手段取得相应资格证书或者成绩证明等严重违纪违规行为的,按照《专业技术人员资格考试违纪违规行为处理规定》(人力资源和社会保障部令第31号)第十条、第十二条处理。
五、报考流程
根据《人力资源社会保障部办公厅关于印发〈专业技术人员职业资格考试考务工作规程〉的通知》(人社厅发〔2021〕18号)要求,报考人员原则上应在工作地或居住地报名参加考试。
(一)网上填报信息。
网上填报时间:2026年3月16日8:00至3月26日17:00。报考人员登录广西人事考试网(www.gxpta.com.cn)或中国人事考试网(www.cpta.com.cn)—“全国专业技术人员资格考试报名服务平台”按流程进行网上填报信息。
1.注册。首次报考人员按要求填写、提交注册信息。注册成功后,登录报名系统上传本人电子证件照(照片处理工具及使用说明可登录中国人事考试网【www.cpta.com.cn/tooldown.html】下载)。报考人员按照系统提示进行信息完善,报名系统对报考人员身份、学历学位等注册信息进行在线核查(核查结果在提交信息后24小时内反馈,建议报考人员提前完成注册),“账号信息完整度”为100%时才可进入考试报名。
2.填写报考信息。按要求填选考试报考级别、报考专业、考试科目、核查点、工作单位、专业工作年限等信息。点击“保存”,进入确认报考信息环节。
3.确认报考信息。报考人员确认所填选的信息准确无误,点击“确定”提交报考信息。
4.选择报名办理方式。系统显示“采用告知承诺制”和“不采用告知承诺制”供报考人员选择。“不适用告知承诺制”的报考人员按系统提示上传相关证件、证明材料,进入网上人工核查环节。
(1)选择“采用告知承诺制”方式的报考人员,本人阅读并签署《告知承诺书》(电子文本)即完成网上填报信息。在线核查通过的,进入缴费环节;在线核查不通过的,进入网上人工核查环节。
(2)选择“不采用告知承诺制”方式或“撤回承诺”的报考人员,按系统提示上传相关证件、证明材料,进入网上人工核查环节。
5.上传相关证件、证明材料。须上传相关证件、证明材料人员为:“不采用告知承诺制”、“撤回承诺”、“不适用告知承诺制”的报考人员,身份信息、学历学位、所学专业等无法在线核查或在线核查未通过的报考人员,以及报考免试科目的报考人员。
上述不同类型人员上传不同材料,按系统提示上传。上传材料包括:
(1)学历、学位在线验证/认证报告(PDF格式);
(2)从事工程施工、监理、设计等业务工作年限证明;
(3)身份证件;
(4)公路水运工程监理工程师资格证书或水利工程建设监理工程师资格证书;监理工程师职业资格证书。
材料上传成功后,等待考试组织机构进行网上人工核查。
6.网上人工核查。核查时间: 2026年3月16日至3月27日17:00。考试组织机构(所选核查点)于2个工作日内完成核查。报考人员应及时登录报名系统查询核查结果。核查通过的进入缴费环节。
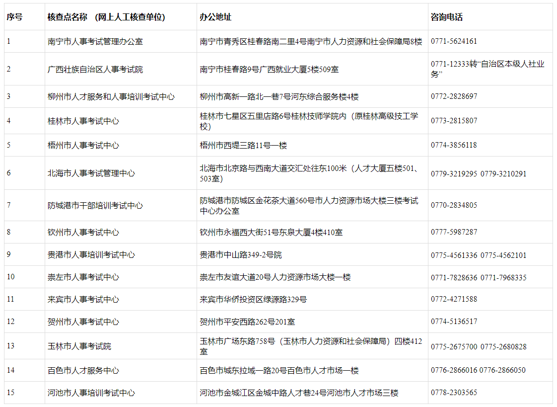
全区人事考试组织机构(核查点)地址及联系方式如下:
(二)网上缴费。
1.网上缴费时间:2026年3月16日8:00至3月30日17:00。报考人员缴费成功,方为完成报名。未在规定时间内进行网上缴费的,视为自动放弃报考。报名缴费时间截止后不安排补报名,不退费。
2.收费标准。按照《广西壮族自治区人力资源和社会保障厅关于公布高级经济专业等6项专业技术人员资格考试收费标准的通知》(桂人社规〔2022〕9号)规定,客观题考试费每人每科为61元;主观题考试费每人每科为69元。
3.票据发放。考试费票据为非税收入一般缴款书,报考人员可登录广西人事考试网(www.gxpta.com.cn)快捷通道“票据申领”功能查询和打印个人考试费票据。票据查询和打印开始时间预计为当次考试报名结束1个月后,截止时间为2026年12月31日。
六、准考证打印
打印时间:2026年5月11日8:00至5月17日17:00。报考人员登录广西人事考试网(www.gxpta.com.cn)或中国人事考试网(www.cpta.com.cn)打印准考证(须打印出照片,黑白、彩色均可,无照片或自贴照片无效)。准考证背面严禁打印或书写任何文字、图案等。
七、应试人员须知
(一)凭准考证和有效身份证件原件(居民身份证、社会保障卡等)进入考场,所持身份证件信息须与准考证载明的信息一致。请仔细核对准考证上的个人身份信息,如信息有误,应在考试前联系报名地考试机构申请办理更正。
(二)考试开始前30分钟可进入考场,考试开始5分钟后不得入场。入场后,须在“座次表”上签到,对号入座,保持安静,并将准考证和有效身份证件放在考位桌面,接受监考人员核查。
(三)收到试卷、答题卡(纸)后,务必仔细核对试卷封面科目、专业名称是否与准考证载明的本场次内容一致,检查试卷印制是否清晰、完整,如遇字迹模糊、缺页重页或者答题卡(纸)有折皱、污损等问题,请立即举手向监考人员报告。
(四)参加考试需携带黑色墨水笔、2B铅笔、橡皮、无声无文本编辑功能的计算器。严禁将手机、智能手表(手环)、智能眼镜、蓝牙耳机等具有通信、记录、拍照、存储、传输功能的电子设备带至座位。考场备有草稿纸供应试人员使用,考后收回。
(五)作答前应认真阅读试卷、答题卡(纸)上的注意事项和作答须知,使用规定的作答工具规范书写填涂。考试结束信号发出后,应立即停止作答,不得将试卷(题)、答题卡(纸)、草稿纸等考试相关材料带出考场。
(六)服从考场封闭管理,考试时长2小时以内的科目,封闭至考试结束。考试时长超过2小时的科目,封闭2小时,考场封闭期间原则上不得交卷离场。考试开始和结束时间以考点统一信号为准。
(七)考试过程中应妥善保管好自己的试卷、答题卡(纸),防止他人抄袭,考试结束后被甄别为雷同答卷的,将给予成绩无效处理。考试过程中的违纪违规行为,按照《专业技术人员资格考试违纪违规行为处理规定》(人力资源和社会保障部令第31号)处理。涉嫌违法犯罪的,交公安机关依法处理。
八、成绩发布及考后核查
(一)7月下旬公布考试成绩,应试人员可登录中国人事考试网(www.cpta.com.cn)查询成绩。
(二)成绩公布后,考试组织机构通过中国高等教育学生信息网(学信网)、广西数智人社社保缴费业务系统、广西数字政务一体化平台等相关政务数据共享平台,对报考人员填报的学历、学位、所学专业、工作单位、工作年限等报考信息真实性开展考后核查和成绩监管。报考人员如有虚假承诺行为的,一经查实,将按相关规定处理。
(三)须进行考后重点核查的报考人员,考试组织机构通过拨打电话或发送短信的方式告知(注册报名服务平台时使用的手机号码),或在广西人事考试网“承诺核查”栏目公布名单,报考人员应积极配合考试组织机构核查,按要求提交核查所需相关证书、证明等材料,逾期拒不接受核查的,视为放弃考试资格。未接到通知或不在网上公布名单内的报考人员,无需提供核查材料。
九、证书办理
证书办理事宜请登录广西人事考试网证书领取专栏(http://www.gxpta.com.cn/kstd/zslq/)查询。
十、考试大纲
2026年度监理工程师职业资格考试基础科目、土木建筑工程专业科目使用《全国监理工程师职业资格考试大纲》(2026年版);交通运输工程专业科目使用《全国监理工程师职业资格考试交通运输工程专业科目考试大纲(2024年修订版)》;水利工程专业科目使用《全国监理工程师职业资格考试水利工程专业科目考试大纲(2023年修订版)》。可在相关网站免费下载。
中国建设监理协会网站(http://www.caec-china.org.cn/)、交通运输部职业资格中心网站(http://www.jtzyzg.org.cn/)及中国水利工程协会网站(http://www.cweun.org/)。
十一、咨询电话
网上报名考务咨询:0771—12333转“自治区本级人社业务”。
广西壮族自治区人事考试院
2026年3月5日
相关推荐:









![[em2_01]](https://live.cdeledu.com/web/images/emoji/01.png)
![[em2_02]](https://live.cdeledu.com/web/images/emoji/02.png)
![[em2_03]](https://live.cdeledu.com/web/images/emoji/03.png)
![[em2_04]](https://live.cdeledu.com/web/images/emoji/04.png)
![[em2_05]](https://live.cdeledu.com/web/images/emoji/05.png)
![[em2_06]](https://live.cdeledu.com/web/images/emoji/06.png)
![[em2_07]](https://live.cdeledu.com/web/images/emoji/07.png)
![[em2_08]](https://live.cdeledu.com/web/images/emoji/08.png)
![[em2_09]](https://live.cdeledu.com/web/images/emoji/09.png)
![[em2_10]](https://live.cdeledu.com/web/images/emoji/10.png)
![[em2_11]](https://live.cdeledu.com/web/images/emoji/11.png)
![[em2_12]](https://live.cdeledu.com/web/images/emoji/12.png)
![[em2_13]](https://live.cdeledu.com/web/images/emoji/13.png)
![[em2_14]](https://live.cdeledu.com/web/images/emoji/14.png)
![[em2_15]](https://live.cdeledu.com/web/images/emoji/15.png)
![[em2_16]](https://live.cdeledu.com/web/images/emoji/16.png)
![[em2_17]](https://live.cdeledu.com/web/images/emoji/17.png)
![[em2_18]](https://live.cdeledu.com/web/images/emoji/18.png)
![[em2_19]](https://live.cdeledu.com/web/images/emoji/19.png)
![[em2_20]](https://live.cdeledu.com/web/images/emoji/20.png)






扫一扫立即下载
扫码添加老师