2020年二级建造师考试在即,考生们都在积极进行备考,做一下历年试题也成为许多考生备考时必不可少的一步,今天就为大家提供了2019年二级建造师公路工程试题,为考生们助跑2020年二级建造师考试!
【案例三】
背景资料:
施工单位承建了某大桥工程,该大桥桥址位于两山体之间谷地,跨越一小河流,河流枯水期水深0.5m左右,丰水期水深2m左右,地面以下地层依次为黏土、砂砾、强风化砂岩。该桥基础原设计为40根钻孔灌注桩,桩长12.0~13.8m不等。施工中发生如下事件:
事件一:大桥基础施工时,恰逢河流枯水期且大旱无水。施工单位考虑现场施工条件、环保、工期等因素影响,提前将原设计大桥基础钻孔灌注桩全部变更为人工挖孔桩。监理单位与相关部门评估、审定,认为该变更属于对工程造价影响较大的重要工程变更,在履行相关审批程序后,下达了工程变更令。
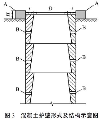
事件二:开工前,施工单位编制了人工挖孔桩专项施工方案,为保证施工安全,人工挖孔桩施工采用分节现浇C25混凝土护壁支护,每节护壁高度为1m,桩孔混凝土护壁形式及结构如图3所示。挖孔施工过程中,发现地层中有甲烷、一氧化碳等气体,施工单位重新修订了专项施工方案。

事件三:桩基础人工挖孔施工中,施工单位采取了如下做法:
(1)挖孔作业时,至少每2h检测一次有毒有害气体及含氧量,保持通风;孔深大于10m时,必须采取机械强制通风措施;
(2)桩孔内设有带罩防水灯泡照明,电压为220V;
(3)桩孔每开挖2m深度浇筑混凝土护壁。
【问题】
1.事件一中,监理工程师下达工程变更令之前,需履行哪两个审批程序?
2.图3中,混凝土护壁形式属于外齿式还是内齿式?写出构造物A的名称,说明混凝土护壁节段中设置的管孔B的主要作用。
3.根据《公路工程施工安全技术规范》,图3中标注的D与H的范围是如何规定的?事件二中,为防止施工人员发生中毒窒息事故,挖孔施工现场应配备哪些主要的设备、仪器?
4.事件三中,逐条判断施工单位的做法是否正确?若错误,予以改正。
5.该大桥挖孔桩修订后的专项施工方案是否需要专家论证审查?说明理由。
『参考答案』
1.监理工程师在下达工程变更令之前,一是要报业主批准,二是要同承包人协商确定变更工程的价格不超过业主批准的范围。如果超过业主批准的总额,监理工程师应在下达工程变更令之前请求业主作进一步的批准或授权。
2.混凝土护壁形式属于内齿式。构造物A为孔口护圈。
混凝土护壁节段中设置的管孔B的主要作用为:(1)作为泄水孔,减小护壁周围土层中的水压力,防止护壁塌陷;(2)向护壁与桩周间空隙灌注水泥浆的灌浆(或压浆)孔。
3.D不宜小于1.2m,H的范围应不小于300mm。
为防止施工人员发生中毒窒息事故,挖孔施工现场应配备气体浓度检测仪器、通风设备、隔绝式压缩氧自救器。
4.第(1)条正确。
第(2)条错误,改正:桩孔内设有带罩防水灯泡照明,电压应为安全电压。
第(3)条错误,改正:混凝土护壁应随挖随浇,每节开挖深度不得超过1m。
5.需要进行专家论证。根据《公路工程施工安全技术规范》的相关规定,开挖深度不超过15m,但地质条件复杂或存在有毒有害气体分布的人工挖孔桩工程编制的专项施工方案需要进行专家论证。因为该挖孔桩地段地层内存在甲烷、一氧化碳等有毒有害气体,所以需要进行专家论证。
以上就是为大家分享的2019年二级建造师公路工程试题,建设工程教育网将持续关注2020年二级建造师考试的相关信息。更多2020年二级建造师考试内容,尽在建设工程教育网二级建造师栏目!
推荐:
2020二级建造师考前内部资料已开通!
考前三页纸来啦!考前看一眼,都是干货~
二建考试临近,5大课程火力全开,助力高效备考,进入二级建造师点题密训班>>








![[em2_01]](https://live.cdeledu.com/web/images/emoji/01.png)
![[em2_02]](https://live.cdeledu.com/web/images/emoji/02.png)
![[em2_03]](https://live.cdeledu.com/web/images/emoji/03.png)
![[em2_04]](https://live.cdeledu.com/web/images/emoji/04.png)
![[em2_05]](https://live.cdeledu.com/web/images/emoji/05.png)
![[em2_06]](https://live.cdeledu.com/web/images/emoji/06.png)
![[em2_07]](https://live.cdeledu.com/web/images/emoji/07.png)
![[em2_08]](https://live.cdeledu.com/web/images/emoji/08.png)
![[em2_09]](https://live.cdeledu.com/web/images/emoji/09.png)
![[em2_10]](https://live.cdeledu.com/web/images/emoji/10.png)
![[em2_11]](https://live.cdeledu.com/web/images/emoji/11.png)
![[em2_12]](https://live.cdeledu.com/web/images/emoji/12.png)
![[em2_13]](https://live.cdeledu.com/web/images/emoji/13.png)
![[em2_14]](https://live.cdeledu.com/web/images/emoji/14.png)
![[em2_15]](https://live.cdeledu.com/web/images/emoji/15.png)
![[em2_16]](https://live.cdeledu.com/web/images/emoji/16.png)
![[em2_17]](https://live.cdeledu.com/web/images/emoji/17.png)
![[em2_18]](https://live.cdeledu.com/web/images/emoji/18.png)
![[em2_19]](https://live.cdeledu.com/web/images/emoji/19.png)
![[em2_20]](https://live.cdeledu.com/web/images/emoji/20.png)






扫一扫立即下载
扫码添加老师