08监理工程师《进度控制》练习题3
单项选择题
1、单代号网络计划中工作与其紧后工作之间的时间间隔应等于( )。
A、紧后工作的最早开始时间与该工作的最早结束时间之差
B、其紧后工作的最早开始时间与该工作的最早完成时间之差
C、其紧后工作的最迟开始时间与该工作的最迟完成时间之差
D、其紧后工作的最早完成时间与该工作的最早完成时间之差
2、在费用优化时,如果被压缩对象的直接费用率或组合费用率等于工程间接费用率时( )。
A、应压缩关键工作
B、应压缩非关键工作的持续时间
C、停止缩短关键工作
D、停止缩短非关键工作的持续时间
3、在进度计划实施中,若某工作的进度偏差小于或等于该工作的( ),此偏差将不会影响总工期。
A、自由时差
B、紧前工作最迟完成时间
C、总时差
D、紧后工作最早开始时间
4、在某工程网络计划中,已知工作M没有自由时差,但总时差为5天,监理工程师检查实际进度时发现该工作的持续时间延长了4天,说明此时工作M的实际进度()。
A、既不影响总工期,也不影响其后续工作的正常进行
B、不影响总工期,但将其紧后工作的开始时间推迟4天
C、将使总工期延长4天,但不影响其后续工作的正常进行
D、将其后续工作的开始时间推迟4天,并使总工期延长1天
5、某分部工程的双代号网络图如下图所示,错误之处是( )。

A、节点编号不对
B、有多余虚工作
C、存在循环回路
D、有多个起点节点
6、对某网络计划在某时刻进行检查,发现工作A尚需作业天数为4天,该工作到计划最迟完成时间尚需3天,则该工作()。
A、可提前1天完成
B、正常
C、影响总工期1天
D、影响总工期3天
7、在工程建设中,通货膨胀属于进度控制常见因素的( )。
A、政策因素
B、社会环境因素
C、资金因素
D、组织管理因素
8、关于双代号网络计划中的虚箭线,下列说法中不正确的是( )。
A、虚箭线主要用来表达相关工作的逻辑关系
B、虚箭线所代表的工作不消耗时间
C、虚箭线代表的可能是虚工作也可能是实工作
D、虚箭线所代表的工作不消耗资源
9、关于自由时差和总时差,下列说法错误的是( )。
A、自由时差为零,总时差必定为零
B、总时差为零,自由时差必定为零
C、在不影响总工期的前提下,工作的机动时间为总时差
D、在不影响紧后工作最早开始的前提下,工作的机动时间为自由时差
10、网络计划比横道图计划先进的主要特征是( )。
A、可以找出关键线路
B、可以明确各项工作的机动时间
C、可以利用电子计算机进行
D、能够明确表达各项工作之间的逻辑关系
11、流水施工的表达方式有( )。
A、网络图的横道图
B、网络图、横道图和垂直图
C、网络图、甘特图和垂直图
D、横道图和甘特图
12、工程项目年度计划的依据是( )。
A、初步设计中确定的建设工期
B、按照单项工程、单位工程归类并编号
C、设计任务书
D、工程项目总进度计划和批准的设计文件
13、当某工程网络计划的计划工期大于计算工期时,关键工作的( )。
A、总时差为零
B、总时差均大于零
C、自由时差为零
D、自由时差均大于零
14、单代号网络图的基本符号中“箭线”表示( )。
A、工作名称
B、一项工作
C、工作持续时间
D、紧邻工作之间的逻辑关系
15、专业工作队在一个施工段上的施工作业时间称为( )。
A、工期
B、流水步距
C、自由时差
D、流水节拍
16、工作A的工作持续时间为3天,该工作有三项紧后工作,工作持续时间分别为4天、6天、3天;最迟完成时间分别为16天、12天、11天,则工作A的最迟开始时间为第( )天。
A、6
B、3
C、8
D、12
17、在工程双代号网络计划中,某项工作的最早完成时间是指其( )。
A、开始节点的最早时间与工作总时差之和
B、开始节点的最早时间与工作持续时间之和
C、完成节点的最迟时间与工作持续时间之差
D、完成节点的最迟时间与工作自由时差之差
18、工程网络计划“资源有限,工期最短”优化的目的是为了寻求( )。
A、资源有限条件下的最短工期安排
B、资源均衡使用时的最短工期安排
C、最低成本时的最短工期安排
D、最短工期条件下的资源均衡安排
19、某道路工程划分为4个施工过程、5个施工段进行施工,各施工过程的流水节拍分别为6、4、4、2天。如果组织加快的成倍节拍流水施工,则流水施工工期为()天。
A、40
B、30
C、24
D、20
20、-为了有效地控制工程建设进度,必须事先对影响进度的各种因素进行全面分析和预测。其主要目的是为了实现工程建设进度的( )。
A、全面控制
B、主动控制
C、事中控制
D、纠偏控制
21、某分部工程双代号网络计划如下图所示,其关键线路有( )条。

A、5
B、4
C、3
D、2
22、在建设工程进度计划的实施过程中,监理工程师控制进度的关键步骤是( )。
A、加工处理收集到的实际进度数据
B、调查分析进度偏差产生的原因
C、实际进度与计划进度的对比分析
D、跟踪检查进度计划的执行情况
23、监理工程师控制工程建设进度的组织措施是( )。
A、合同工期与进度计划的协调
B、实际进度与计划进度的动态比较
C、确定进度协调工作制度
D、定期向业主提供进度比较报告
24、为了判定工作实际进度偏差并能预测后期工程项目进度,可利用的实际进度与计划进度比较方法是( )。
A、匀速进展横道图比较法
B、非匀速进展横道图比较法
C、S型曲线比较法
D、前锋线比较法
多项选择题
1、当监理工程师协助业主将某建设项目的设计和施工任务发包给一个承包商后,需要审核的进度计划有( )。
A、工程项目建设总进度计划
B、工程设计总进度计划
C、工程项目年度计划
D、工程施工总进度计划
E、单位工程施工进度计划
2、非确定型网络计划,是指网络计划中各项工作及其持续时间和各工作之间的相互关系都是不确定的。下列各项中属于非确定型网络计划的有()。
A、双代号网络计划
B、单代号网络计划
C、计划评审技术
D、风险评审技术
E、决策关键线路法
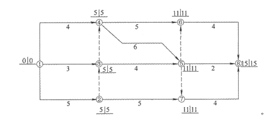
3、某分部工程双代号网络计划如下图所示。图中已标出每个节点的最早时间和最迟时间,该计划表明()。

A、工作1—3为关键工作
B、工作1—4的总时差为1
C、工作3—6的自由时差为1
D、工作4—8的自由时差为1
E、工作6—10的总时差为3
4、阶段性设计进度计划包括( )。
A、设计准备工作进度计划
B、初步设计工作进度计划
C、设计总进度计划
D、施工图设计工作进度计划
E、设计作业进度计划
5、某分部工程双代号网络计划如下图所示。图中已标出每个节点的最早时间和最迟时间,该计划表明( )。

A、工作1-3为关键工作
B、工作1-4的总时差为1
C、工作3-6的自由时差为1
D、工作4—8的自由时差为0
E、工作6—10的总时差为3
6、流水施工能够( )。
A、提高劳动生产率
B、保证施工连续、均衡、有节奏地进行
C、有利于资源供应的组织
D、不能实施专业化施工
E、导致工人劳动强度增大
7、在网络计划的工期优化过程中,为了有效地缩短工期,应选择( )的关键工作作为压缩对象。
A、持续时间最长
B、缩短时间对质量影响不大
C、直接费用最小
D、直接费用率最小
E、有充足备用资源
8、工程项目建设总进度计划的内容包括( )。
A、投资计划年度分配表
B、竣工投产交付使用表
C、工程项目进度平衡表
D、年度建设资金平衡表
E、年度设备平衡表
9、某分部工程双代号网络计划如下图所示(时间单位:天),图中已标出每个节点的最早时间和最迟时间,该计划表明( )。

A、所有节点均为关键节点
B、所有工作均为关键工作
C、计算工期为15天且关键线路有两条
D、工作1---3与工作1--4的总时差相等
E、工作2--7的总时差和自由时差相等
10、某工程双代号时标网络计划执行到第4周末和第10周末时,检查其实际进度如下图前锋线所示,检查结果表明()。
A、第4周末检查时工作B拖后1周,但不影响工期
B、第4周末检查时工作A拖后1周,影响工期1周
C、第10周末检查时工作I提前1周,可使工期提前1周
D、第10周末检查时工作G拖后1周,但不影响工期
E、在第5周到第10周内,工作F和工作I的实际进度正常
11、在某单位工程双代号时标网络计划中( )。
A、工作箭线左端节点所对应的时标值为该工作的最早开始时间
B、工作箭线右端节点所对应的时标值为该工作的最早完成时间
C、终点节点所对应的时标值为该网络计划的计算工期
D、波形线表示工作与其紧后工作之间的时间间隔
E、各项工作按其最早开始时间绘制
12、监理工程师在工程建设设计阶段进度控制的任务是( )。
A、编制项目总进度计划
B、编制设计总进度计划
C、确定专门负责监理人员
D、审核设计进度计划合理性
E、提出对设计图纸进度表的意见
单项选择题答案
1:B| 2:A| 3:C| 4:B| 5:C| 6:C| 7:C| 8:C| 9:A| 10:D| 11:B| 12:D| 13:B| 14:D| 15:D| 16:B| 17:B 18:A| 19:C| 20:B| 21:B| 22:D| 23:D| 24:D|
多项选择题答案
1:B、D、E、 | 2:C、D、E、 | 3: A、D、 | 4: A、B、D、 | 5: B、E、 | 6: A、B、C、 | 7:B、D、E、 | 8: A、C、 | 9:A、C、E、 | 10: A、B、D、 | 11: A、C、D、E、 | 12:C、D、E、 |
建设工程教育网论坛

扫码添加老师进群


54:00
30:20
42:06
56:15







