福建2021年BIM下半年考试地点公布了吗?
 
   
        
        
        2021年下半年的BIM考试即将到来,各位考生准备的怎么样了?大家都知道自己在哪里考试了吗?虽然2021年下半年BIM的考试地点暂未公布,但是我们可以参考一下以前BIM考试的地点,由于疫情的原因也可能会发生变化,仅供各位考生进行参考哦~
2021年BIM考试时间:
2021年12月11日、12日
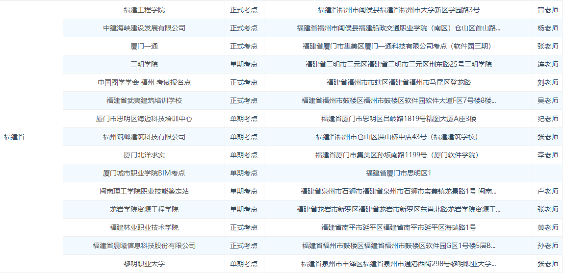
福建省2021年BIM考试地点(仅供参考):
推荐阅读:
2021年第十八期BIM课程已上新,点击选购你的专属课程>>
 
   
        
        
        
        
        
        
      报考指南
阅读排行
关注更多
立即扫码添加学习顾问
 
  
       报考指导
      报考指导
    
       考情速递
      考情速递
    
       备考计划
      备考计划
    
       帮你选课
      帮你选课
    
 
           
       
				 
							

 010-82326699
010-82326699
		 
            

 
    




 
   苏公网安备32128202000920号
苏公网安备32128202000920号 扫码添加顾问老师
扫码添加顾问老师
			 扫一扫下载建设
扫一扫下载建设